首页
TP钱包
tp下载安卓
tp钱包官网下载
tp钱包最新下载
tp钱包安卓版下载
首页
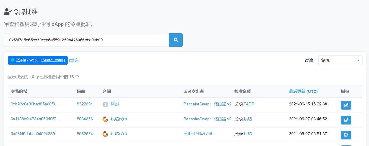
包含"资产被盗 第2页"标签的文章
《tp钱包被无故转账》-(官方)TP钱包最新版下载
是根据“TP钱包被无故转账”主题改写...
《Tp钱包授权资产被盗》-(官方)TP安卓最新版下载
,以下是基于“TP钱包授权资产被盗”...
《TP钱包怎么测试代币》-(官方)tp钱包最新版下载
TP钱包怎么测试代币在加密货币和区块...
《tp钱包口令转账》-(官方)TokenPocket钱包
,下面是关于“TP钱包口令转账”的文...
《tp钱包的地址是哪个》-(官方)TP钱包最新版下载
是根据您要求撰写的文章: ---T...
《tp钱包安全客服》-(官方)tp钱包安卓版下载
,以下是关于“TP钱包安全客服”的文...
‹‹
‹
1
2
››
最新文章
1
tp钱包官方下载:TP钱包转账ETH不足,问题剖析与应对策略
2
tp钱包官方正版下载2.0-TP钱包APP官方下载新版,开启数字资产管理新时代
3
tp钱包官网下载app|探秘中本聪的 CORE 与 TP 钱包的完美邂逅
4
tp数字钱包官网下载:TP钱包购买OK的详细指南与风险提示
5
tp钱包官方正版安装-找回遗忘的TP钱包验证密码,一场数字资产的寻钥之旅
6
tp钱包下载安装:TP钱包最新骗局揭秘,守护你的数字资产安全
7
tp钱包下载官方免费|探秘 TP 钱包带市场的版本,开启数字资产新旅程
8
tp钱包下载最新-TP冷钱包收款全攻略,安全便捷的资产接收之道
热门视频
1
华为 tp 钱包安装困境及解决探讨-tp苹果钱包下载
2
TP 钱包中闪兑链接的深度解析与应用探讨-tp钱包下载
3
详细指南,创建 Core 钱包与 TP 钱包的步骤与要点-TP钱包下载完以后
4
TP 钱包下载步骤全解析(图文并茂)-假tp钱包下载
5
TP 钱包激活指南-tp钱包下载地址
6
TP 钱包行情,数字资产世界的窗口与机遇-tp下载钱包下载
7
关于攻克 TP 钱包软件的探讨-tp钱包下载失败
8
警惕 TP 钱包空投大额币背后的风险与真相-tp钱包冷钱包下载
标签列表
TokenPocket
(158)
钱包
(143)
TP 钱包
(2282)
数字资产
(261)
TP钱包
(2346)
下载问题
(56)
下载
(515)
加密货币
(67)
冷钱包
(100)
数字货币
(75)
苹果
(157)
安全
(43)
USDT
(46)
tp 钱包
(69)
数字资产安全
(88)
tokenpocket
(156)
下载安装
(116)
苹果下载
(147)
官网下载
(158)
安卓
(40)
安卓版
(45)
安卓下载
(54)
tp钱包
(647)
TokenPocket 钱包
(39)
安卓版下载
(37)